• Questo sito è parte del network MotorBlaze :
  • Autoblog
  • HDmotori
  • Motori.it
Newsletter Pubblicità
News Anticipazioni MotoGP Superbike
Loading...
Categorie: News
Anticipazioni
MotoGP
Superbike
Trending: Abbigliamento e Accessori Curiosità
Questo sito è parte del network MotorBlaze :
Autoblog HDmotori Motori.it
Codice etico
Affiliazione
Informativa Privacy
Informativa Cookie
Note legali
  • Trending:
  • Abbigliamento e Accessori
  • Curiosità

BMW R 18 Classic: il ritorno della cruiser tedesca tra tradizione e innovazione

Yamaha Ténéré 700 World Raid 2026: evoluzione elettronica e autonomia da record

CFMoto 500SR Voom: la nuova sportiva da mezzo litro pronta a stupire

Moto da collezione: in vendita la rara Metisse Steve McQueen 2008

Márquez sfida Sinner e Alcaraz: il nono titolo vale il premio di sportivo dell'anno?
Triumph e Moto2: testati i carburanti 100% sostenibili per il 2027
Husqvarna 400 CR 1975: restauro e storia dell'icona motocross
Curiosità •
Carburanti alle stelle: Gasolio +14% in dieci giorni, governo valuta accise mobili
News •
Rainette: la Brat Tracker su base Honda CM125 firmata Atelier Ewok
Curiosità •
BMW R nineT Fighting 31: la Café Racer militare che ridefinisce lo stile
Café racer •
Era in un garage, ora vale quanto una villa: il mistero della CB750
Killer Bee: la leggendaria Yamaha TT500 rinasce con un tocco giapponese
Ducati Multistrada V4 vince il Premio Moto Europa a Motodays 2026
Ducati •
Kawasaki Demo Tour 2026: tutte le tappe e i nuovi modelli in prova
Anticipazioni •
Benda LFC 700 Pro: la "Diavel cinese" che sfida i colossi a metà prezzo
Curiosità •
L'uomo che correva contro il tempo: la leggenda di Steve Wise
Personaggi •
MotoGP a rischio: difficile confermare il GP del Qatar ad aprile 2026
DAB 1: supermoto elettrica urbana a €9.990
Honda CRF300L Red Edition: la dual-sport potenziata da RedMoto
News •
BMW porta l'AI Fisica in Europa: ecco il robot che cambierà le fabbriche
News •
Harley Davidson RMCR, il nuovo cafe racer in fibra di carbonio
Harley-Davidson •
Suzuki RG500 XR14 di Barry Sheene all'asta: icona del 1977
Anticipazioni •
Arriva il nuovo Aprilia SR GT 400: scooter crossover con 36 CV e prebooking
Ride for Heroes: 1 milione di dollari e 5 moto in palio per una causa
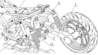
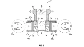
Kawasaki brevetta chassis modulare per motociclette elettriche
News •
Il fantasma silenzioso: ecco la moto elettrica che sfida i droni
News •
TVS porta in Europa l'Apache RTX 300 con livrea rally
Anticipazioni •
Honda SH in abito da corsa: arriva la serie HRC (solo 500 pezzi)
News •
Nuovo Letbe Aurora 125: lo scooter "inarrestabile" per la città
KTM, la svolta è servita: 550 milioni per riscrivere il futuro
BMW F 900: le nuove edizioni speciali che (purtroppo) non avremo
News •
Indian Motorcycle 2026: l'icona USA cambia pelle. Le novità
Anticipazioni •
Triumph Rocket 3: il kit che la trasforma in una regina dei viaggi
News •
Ritorno della RMCR Concept: Harley-Davidson esplora la cafe racer in carbonio
Harley-Davidson •
Letbe Aurora 125: nuovo scooter ADV Euro5 per patentati A1 e B
Motocross elettrica Bonnell 902: 87 CV e batterie intercambiabili
Low Rider S, Harley Davidson reintroduce il Chrome Trim per il 2026
Harley-Davidson •
Yamaha R9 protagonista a Motodays: finalista al Premio Moto Europa 2026
News •
Autoliv brevetta airbag per motociclette: protezione avanzata per torso e testa
News •
Ruckus: il piccolo mostro Honda che non vuole smettere di stupire
News •
  • 1
  • 2
  • 3
  • 4
  • 5
  • 6
  • 7
  • 8
  • 9
  • 10
  • <i class="icon-arrow-right"></i>
© Motoblog 2004 - 2026 | TUB Network srl - P.Iva 16454421005
  1. Questo sito è parte del network MotorBlaze :
  2. Autoblog Autoblog
  3. HDmotori HDmotori
  4. Motori.it Motori.it