Honda brevetta la frizione by-wire: vediamo come funziona

Honda brevetta la frizione by-wire, ovvero, la frizione a comando elettronico. Ecco come funziona il sistema ideato dalla Casa giapponese.

Honda brevetta la frizione by-wire: vediamo come funziona
F P
Francesco Pepe
Pubblicato il 10 giu 2021

E dopo l’acceleratore ride-by-wire, presente, ormai, su buona parte delle moto prodotte in serie, è il turno della frizione by-wire. Si tratta, questa volta, di un brevetto Honda, appena depositato.

L’acceleratore ride-by-wire, invece, era opera di Aprilia, che lo introdusse su una moto di serie, già nel lontano 2007. Prima, infatti, era destinato solamente al mondo delle competizioni.

[ghshortpost id=233332 title="Honda al lavoro sul nuovo motore V4 con sistema di disattivazione dei cilindri" layout="post_inside"]

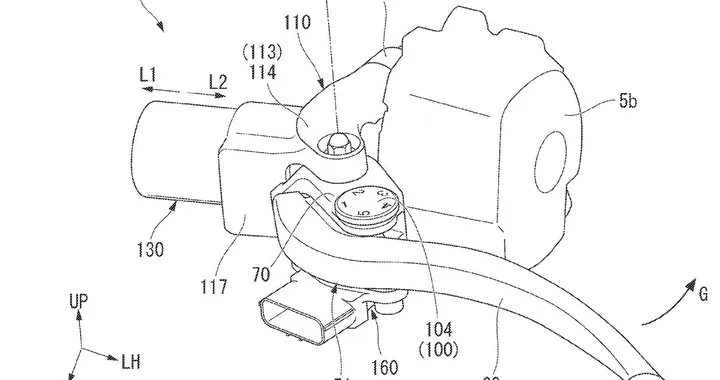
Ma torniamo all’argomento di oggi, ovvero, la frizione elettronica brevettata dalla Casa giapponese. Con il nuovo sistema Honda, sparisce il collegamento diretto fra la leva da azionare e la frizione all’interno del carter. Sparisce, quindi, anche il classico cavo d’acciaio.

Spazio, dunque, ad una pompa elettrica, azionata sempre tramite una leva al manubrio, che mette in pressione l’impianto idraulico della frizione. Attraverso alcuni sensori, la centralina apposita comunica alla pompa elettrica la velocità di marcia, i giri del motore, l’apertura del comando del gas e altri dati utili, così da avere un comando sempre fluido e adatto alle esigenze del momento.

Così, la nuova pompa andrà a velocizzare le cambiate quando il ritmo è sostenuto, o a smorzare gli strappi nelle ripartenze, correggendo, magari, gli errori del pilota.

[ghshortpost id=233169 title="Honda al MiMo 2021 con le novità moto e scooter" layout="post_inside"]

Come già succede con la risposta dell’acceleratore elettronico, capace di riprodurre in maniera fedele il tanto caro movimento di rotazione della manopola del gas, anche la leva della pompa elettrica riprodurrà la solida risposta di un tradizionale comando della frizione.

Per adesso, si tratta solamente di un brevetto. Non sappiamo se e quando andrà in produzione la frizione by-wire, ma vi terremo aggiornati.

Fonte: cycleworld

[ghshortpost id=232269 title="Nuova Honda Transalp: appuntamento ad EICMA 2021?" layout="post_inside"]

Ti potrebbe interessare: