Il ritorno inatteso dei motori 2 tempi: perché ora possono funzionare

Nuove tecnologie come iniezione diretta, turbo e camicia mobile potrebbero rendere i motori 2T più efficienti e meno inquinanti.

Il ritorno inatteso dei motori 2 tempi: perché ora possono funzionare
M V
Massimiliano Vetrone
Pubblicato il 31 dic 2025

Negli ultimi anni, un inatteso fermento di ricerca sta riportando sotto i riflettori una tecnologia storica ma spesso sottovalutata: i Motori 2T. Da sempre sinonimo di leggerezza, compattezza e reattività, questi propulsori sono stati per decenni messi in secondo piano a causa di consumi elevati e impatti ambientali non trascurabili. Tuttavia, la scena sta cambiando rapidamente: nuove soluzioni tecniche e una rinnovata attenzione all’innovazione potrebbero offrire una seconda chance ai due tempi, spingendo aziende di rilievo mondiale a investire in questa direzione.

Le multinazionali General Motors e Kawasaki sono in prima linea in questa rivoluzione silenziosa, lavorando su progetti che puntano a risolvere i punti deboli storici dei Motori 2T senza sacrificarne i vantaggi strutturali. L’elemento chiave di questa rinascita è la capacità di coniugare performance e rispetto delle nuove normative, grazie a tecnologie che fino a pochi anni fa sembravano appannaggio solo dei motori a quattro tempi più evoluti.

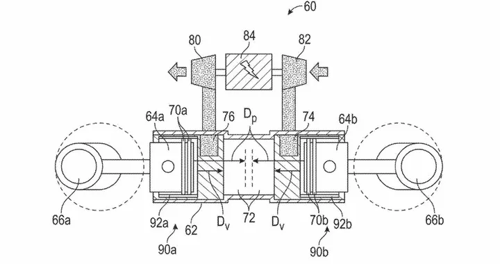
Uno dei punti di svolta più significativi è rappresentato dall’introduzione di una camicia mobile tra pistone e cilindro, una soluzione ingegneristica avanzata che consente di ottimizzare le tolleranze meccaniche tra le diverse fasi di funzionamento, riducendo attriti e usura. In particolare, General Motors sta puntando su questo approccio: la camicia cilindrica, controllata da un attuatore elettronico, permette di adattare dinamicamente le condizioni interne del motore, favorendo sia l’avviamento a freddo sia la massima resa in condizioni di esercizio prolungato.

Sul fronte opposto, Kawasaki sta sviluppando una piattaforma integrata che combina tre elementi di spicco: Iniezione Diretta, Turbo e valvole a comando elettronico. L’obiettivo principale è quello di eliminare uno dei limiti più noti dei Motori 2T: la dispersione della miscela aria-carburante durante la fase di scarico, che storicamente ha penalizzato sia l’Efficienza sia il contenimento delle Emissioni. Grazie all’Iniezione Diretta, la miscela viene introdotta direttamente nella camera di combustione solo al momento opportuno, mentre il Turbo assicura una sovralimentazione intelligente, ottimizzando il rapporto potenza/peso.

Non si tratta di semplici esercizi di stile o prototipi destinati a rimanere nei laboratori. Il ritorno dei Motori 2T trova applicazioni concrete in settori dove il peso e la compattezza sono determinanti: moto leggere, generatori portatili, motori nautici e, potenzialmente, anche nel settore dei veicoli elettrificati come range extender. Le potenzialità sono notevoli, ma la strada è tutt’altro che spianata.

Il principale ostacolo è rappresentato dalle attuali normative sulle Emissioni, che impongono limiti sempre più stringenti su ossidi di azoto, particolato e idrocarburi incombusti. Qualsiasi nuovo motore, per avere un futuro commerciale, deve non solo rispettare questi standard ma anche garantire affidabilità e costi competitivi. Il ricordo del fallimento della Bimota V-Due 500 negli anni ’90, un ambizioso tentativo di coniugare elettronica e due tempi, resta un monito sulle insidie di una complessità eccessiva e sulla difficoltà di trovare il giusto equilibrio tra innovazione e robustezza.

Sul piano industriale, le sfide sono ancora più complesse. Progettare componenti specifici, sviluppare controlli elettronici sofisticati e sottoporre ogni soluzione a rigorosi test di durata comporta investimenti considerevoli. A ciò si aggiunge la necessità di riorganizzare la filiera produttiva e l’assistenza post-vendita, dal momento che molte delle tecnologie in questione richiedono competenze nuove e una formazione specialistica per i tecnici.

Ti potrebbe interessare: